Neues Apple-Patent

Lädt sich das iPhone 6 kabellos auf?

Innovative Technik braucht keine geeignete "Strom-Unterlage" mehr.

Einige aktuelle Top-Smartphones setzen auf eine kabellose Auflade-Funktion (Wireless Charging). Dabei muss das Gerät nicht umständlich an den Stecker angestöpselt, sondern nur auf eine geeignete Unterlage gelegt werden. Aktuellste Beispiele, die diese Induktions-Technik nutzen, sind das Lumia 920 von Nokia und das Nexus 4 von Google. In Zukunft könnte auch das iPhone - vielleicht schon das 5S oder das 6er - auf eine solche Technologie setzen. Apple hat sich dabei aber wieder etwas Besonderes einfallen lassen.

Neuer Ansatz
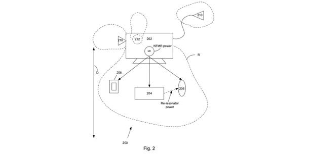
So berichtet Wired, dass der US-Erfolgskonzern Anfang November einen Patentantrag eingereicht hat, in dem ebenfalls vom kabellosen Aufladen die Rede ist. Apple will bei seinem System jedoch nicht auf die bereits bekannte Induktions-Technik setzen, sondern die sogenannte Nahfeld-Magnetfeldresonanz (NFMR) nutzen. Letztere soll gleich mehrere Vorteile bringen. Zum einen funktioniert das Ganze bis zu einer Reichweite von einem Meter. Zum anderen braucht man keine spezielle Unterlage mehr.

Lädt sich das iPhone 6 kabellos auf?
© Apple

Im Patentantrag sitzt der NFMR-Adapter direkt in einem iMac; Bild: (c) Apple

Schwingungen
Bei der NMFR wandelt nämlich ein am Stromnetz hängender Adapter die notwendige Energie in Schwingungen um. Diese werden vom gewünschten Gerät - in diesem Fall dem iPhone - aufgefangen und der Akku geladen. Diese Technik würde sich also beispielsweise auch für kabellose Mäuse und Tastaturen hervorragend eignen. Diese könnten dann ganz ohne Batterien/Akkus laufen.

Wann bzw. ob Apple die Technologie auf den Markt bringt, steht nicht fest. Bei einer der nächsten iPhone-Generationen könnte sie aber schon mit an Bord sein.

Design-Studie vom iPhone 6 :

Fotos von der iPhone 6-Design-Studie

Die Design-Studie des französischen Grafikers Antoine Breiux (NAK Design) zeigt, wie das iPhone 6 aussehen könnte.

Bei der Erstellung seiner Fotos hat er aktuelle Gerüchte miteinfließen lassen. Laut diesen verzichtet die nächste iPhone-Generation auf einen Home-Button.

Statt diesem kommt bei der Studie ein kleines, beleuchtetes Apple-Logo zum Einsatz.

Während Apple beim iPhone 5 auf eine Rückseite aus Aluminium setzt, glaubt Brieux, dass das iPhone 6 wieder auf Glas setzt.

Auch über die technische Ausstattung gibt es schon Gerüchte. So soll das iPhone 6 von einem A7 Quad-Core-Prozessor angetrieben werden.

Darüber hinaus soll auch der Arbeitsspeicher aufgerüstet werden.

Fehler im Artikel gefunden? Jetzt melden.

Fotos von der iPhone 6-Design-Studie

Die Design-Studie des französischen Grafikers Antoine Breiux (NAK Design) zeigt, wie das iPhone 6 aussehen könnte.

Bei der Erstellung seiner Fotos hat er aktuelle Gerüchte miteinfließen lassen. Laut diesen verzichtet die nächste iPhone-Generation auf einen Home-Button.

Statt diesem kommt bei der Studie ein kleines, beleuchtetes Apple-Logo zum Einsatz.

Während Apple beim iPhone 5 auf eine Rückseite aus Aluminium setzt, glaubt Brieux, dass das iPhone 6 wieder auf Glas setzt.

Auch über die technische Ausstattung gibt es schon Gerüchte. So soll das iPhone 6 von einem A7 Quad-Core-Prozessor angetrieben werden.

Darüber hinaus soll auch der Arbeitsspeicher aufgerüstet werden.

OE24 Logo
Es gibt neue Nachrichten